|
|
|

地址:鎮江市新區大港鳳棲路18號
電話:0511-88825030 88825033
傳真:0511-88825276
郵編:212132
信箱:sales@zjjinhuang.com
網址:www.lenosp.cn |
|
|
|
|
| SMA(附SMA發極性)射頻同軸連接器 |
|
|
|
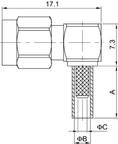
型 號 |
電纜型號 |
A |
B |
C |
SMA-KY32 |
SFT-50-2-1
SM86 |
4 |
2.2 |
. |
SMA-KY33 |
SFT-503-1
SM141 |
5 |
3.6 |
. |
|
|
|
型 號 |
電纜型號 |
A |
B |
C |
SMA-C-J2.5 |
SFF-50-1.5-1
|
9.5 |
2.8 |
1.6 |
SMA-C-J2.5D |
SFF-50-1.5-1
|
9.5 |
2.8 |
1.6 |
SMA-C-J2.5D |
SFF-50-2-1 |
9.5 |
3.4 |
1.6 |
SMA-C-J3 |
SYV-50-2-1 |
9 |
3.1 |
1.6 |
SMA-C-J3A |
SYV-50-2-1 |
9 |
3.1 |
1.6 |
|
|
|
型 號 |
電纜型號 |
A |
B |
C |
SMA-J4Y |
SFF-50-2-1
SYV-50-2-2
|
10 |
4.2 |
2.3 |
SMA-J4YA |
SFF-50-2-1
SYV-50-2-2
|
10 |
4.2 |
2.3 |
SMA-J5Y |
SFF-50-3-1
SYV-50-3 |
12 |
5.2 |
3.1 |
SMA-J5YA |
SYV-50-3-1
SYV-50-3 |
12 |
5.2 |
3.1 |
|
|
|
型 號 |
電纜型號 |
A |
B |
C |
SMA-C-JW2.5 |
SFF-50-1.5-1
|
9.5 |
2.8 |
1.6 |
SMA-C-JW2.5A |
SFF-50-1.5-1
|
9.5 |
2.8 |
1.6 |
SMA-C-JW2.5D |
SFF-50-1.5-1 |
9.5 |
3.4 |
1.6 |
SMA-C-JW3.5D |
SYV-50-2-2 |
11 |
4.4 |
1.6 |
SMA-C-JW3 |
SYV-50-2-1 |
9 |
3.1 |
1.6 |
SMA-C-JW3A |
SYV-40-3-1 |
9 |
3.1 |
1.6 |
SMA-C-JW4 |
SFF-50-2-1
SYV-50-2-2 |
10 |
4.2 |
2.3 |
SMA-C-JW4A |
SFF-50-2-1
SYV-50-2-2 |
10 |
4.2 |
2.3 |
SMA-C-JW5 |
SFF-50-3-1
SYV-50-3 |
12 |
5.2 |
3.1 |
SMA-C-JW5A |
SFF-50-3-1
SYV-50-3 |
12 |
5.2 |
3.1 |
|
|
|
【01】【02】【03】【04】【05】【06】【07】【08】【09】【10】【11】【12】【13】【14】【15】【16】
【17】【18】【19】【20】【21】【22】【23】【24】【25】 |
|
|
|